Se hai sentito parlare di ozonizzatori per la sanificazione degli ambienti domestici, probabilmente ti sarai chiesto come funzionano e quale tecnologia sia più adatta alle tue esigenze. L'ozono (O3) è un gas naturale con elevate proprietà ossidanti, utilizzato per eliminare batteri, virus e cattivi odori, ma non tutti i generatori sono uguali. Esistono diverse tecnologie di produzione, ognuna con specifiche caratteristiche di efficienza, costi e durata. Comprendere le differenze tra generatori a effetto corona, lampade UV, elettrolisi e plasma freddo ti aiuterà a valutare quale soluzione possa essere più appropriata per la sanificazione della tua abitazione, considerando anche i fattori di sicurezza e manutenzione.
L'ozono (O3) si forma naturalmente a partire da molecole di ossigeno (O2) in presenza di scariche elettriche, scintille o fulmini, secondo una specifica reazione chimica:

Dove Delta H indica l'entalpia molare della reazione. Si tratta di una reazione endotermica, ovvero che sottrae energia all'ambiente circostante per poter avvenire. Questo principio fisico è alla base di tutte le tecnologie artificiali di generazione dell'ozono.
In natura, l'ozono si forma principalmente nella stratosfera grazie all'azione dei raggi ultravioletti solari, creando lo strato che ci protegge dalle radiazioni nocive. A livello del suolo, può formarsi durante i temporali per l'azione dei fulmini, motivo per cui dopo un temporale l'aria ha spesso un odore caratteristico e "pulito".
Attualmente esistono cinque tecnologie principali per la produzione artificiale di ozono, ciascuna con specifici vantaggi e limitazioni:
È la tecnologia più diffusa nel settore professionale e permette di produrre ozono riducendo al minimo la formazione di gas indesiderati. Le dimensioni degli apparecchi possono essere contenute e la longevità delle celle può superare i dieci anni mantenendo un'elevata produttività.
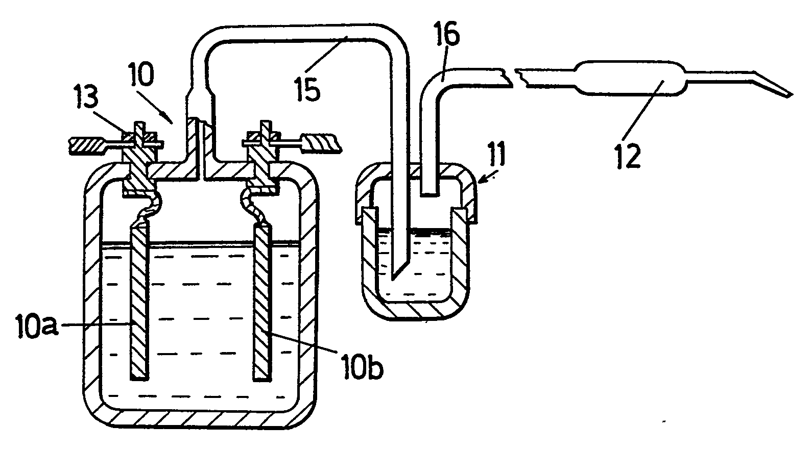
Questi generatori utilizzano celle che ricalcano il brevetto di Werner von Siemens del 1857 e i generatori progettati da Welsbach nel 1950. Le celle sono costituite da due elettrodi concentrici separati da un'intercapedine di pochi decimi di millimetro (0,8-1,5 mm), nella quale fluisce l'aria o l'ossigeno.
Tra gli elettrodi viene applicata una differenza di potenziale di 7-30 kV, con frequenze dai 50 Hz fino oltre 1 kHz. L'elettrodo interno è metallico, mentre quello esterno consiste in un film conduttivo che avvolge un tubo di materiale dielettrico, solitamente vetro borosilicato o ceramica.
Vantaggi della tecnologia Siemens:
Considerazioni per l'uso domestico: Richiedono aria perfettamente secca (punto di rugiada -50°C) e sistemi di raffreddamento, poiché l'85-95% dell'energia si trasforma in calore. Per questo motivo sono generalmente più adatti per applicazioni professionali.
Negli ultimi vent'anni sono state sperimentate diverse varianti della tecnologia corona: intercapedine ampia, scarica fredda, piccolissima intercapedine, elettrodo in rete metallica o filo metallico fine. Tuttavia, queste tecnologie innovative trovano ancora limitato impiego commerciale rispetto alla consolidata tecnologia Siemens.
Un sistema più semplice ed economico che utilizza lampade UV con banda di emissione concentrata a 185 nanometri. Questo approccio replica i processi naturali della stratosfera che mantengono lo strato di ozono terrestre.
Vantaggi delle lampade UV:
Svantaggi:
Questa tecnologia è spesso preferita per applicazioni domestiche grazie alla semplicità di utilizzo e manutenzione, nonostante la minore efficienza produttiva.
La produzione per via elettrolitica rappresenta una tecnologia emergente inizialmente sperimentata nella depurazione di acque reflue farmaceutiche. Numerosi brevetti recenti hanno portato allo sviluppo di celle elettrolitiche per la produzione diretta di ozono in acqua.
Esistono diverse varianti:
Vantaggi:
Attualmente questi sistemi trovano impiego principalmente nel settore farmaceutico per prevenire la ricontaminazione dell'acqua ultrapura.
Il plasma non termico (o plasma freddo) è una tecnologia avanzata dove gli elettroni raggiungono temperature di circa 20.000 K mentre il resto del gas rimane a temperature ambiente. Un esempio comune è la lampada fluorescente a vapore di mercurio.
Nel generatore di ozono, il plasma freddo viene creato tramite una scarica di barriera dielettrica. Quando l'ossigeno puro attraversa il generatore, le molecole O2 vengono suddivise in ossigeno atomico (O) che si ricombina formando ozono (O3).
Caratteristiche del plasma freddo:
I generatori di ozono devono resistere per anni all'azione di uno degli agenti ossidanti più potenti in natura. Per questo motivo, la scelta dei materiali costruttivi è fondamentale per garantire durata e sicurezza.
Materiali idonei per generatori di ozono:
L'utilizzo dell'ozono per la sanificazione domestica richiede particolare attenzione alla sicurezza. Il Ministero della Salute italiano riconosce l'ozono come presidio naturale per la sterilizzazione di ambienti, ma ne regolamenta l'uso attraverso specifiche indicazioni.
Limiti di esposizione secondo l'INAIL:
Precauzioni essenziali:
Secondo le linee guida dell'Istituto Superiore di Sanità, l'ozono è efficace contro virus, batteri e spore a concentrazioni che variano da 0,5 a 2,0 ppm, con tempi di contatto di 10-30 minuti a seconda del patogeno target.
Approfondimento video sui principi di funzionamento e applicazioni dell'ozono per la sanificazione.
Per approfondire come viene effettuata l'valutazione degli inquinanti domestici e quali sostanze vengono rilevate, consulta la pagina dedicata.
I tecnici A2C eseguono consulenze per la sanificazione con ozono in abitazioni e luoghi di lavoro, con verifica dell'efficacia dei trattamenti e formazione all'uso corretto degli ozonizzatori. Il servizio include sopralluogo, analisi della qualità dell'aria e redazione di linee guida personalizzate.
Per appartamenti fino a 100 m² 250 €
(oneri fiscali e previdenziali inclusi, escluse spese di trasferta).
Per immobili più grandi o esigenze specifiche preventivo personalizzato.
📍 Servizio attivo nelle province di Salerno e Avellino.
Richiedi una consulenza
Quale tecnologia di generazione è più adatta per uso domestico?
Per uso domestico sono generalmente preferibili i generatori a lampade UV per la loro semplicità di utilizzo e manutenzione. Non richiedono aria secca e sono più sicuri, anche se meno efficienti dei sistemi corona professionali.
Quanto dura un generatore di ozono domestico?
La durata dipende dalla tecnologia: i generatori corona con celle Siemens possono superare i 10 anni, mentre quelli UV sono limitati dalla vita delle lampade (1-3 anni). La manutenzione regolare è fondamentale per tutte le tecnologie.
È possibile utilizzare un ozonizzatore in presenza di persone o animali?
No, durante il trattamento con ozono è necessario evacuare completamente l'ambiente da persone, animali e piante. Il rientro è consentito solo dopo adeguata ventilazione e naturale decomposizione dell'ozono (30-60 minuti).
Che differenza c'è tra usare aria o ossigeno puro nei generatori corona?
L'ossigeno puro permette concentrazioni di ozono circa doppie rispetto all'aria, ma l'aria ha rese energetiche migliori. Per uso domestico, l'aria ambiente è generalmente sufficiente ed economicamente più vantaggiosa.
Come si riconosce un generatore di ozono di qualità?
Verificare i materiali costruttivi (acciaio inox, PTFE, vetro), la presenza di certificazioni, timer di sicurezza, sensori di concentrazione e documentazione tecnica completa. Diffidare di prodotti senza specifiche tecniche dettagliate.
La scelta della tecnologia di generazione dell'ozono più appropriata dipende dalle specifiche esigenze di utilizzo, dal budget disponibile e dal livello di competenza tecnica dell'utilizzatore. Per applicazioni domestiche, la semplicità e sicurezza d'uso sono spesso più importanti della massima efficienza produttiva.
Il presente servizio è attivo esclusivamente nei seguenti comuni: Salerno, Cava de' Tirreni, Castiglione del Genovesi, Pellezzano, Vietri sul Mare, Baronissi, Fisciano, Pontecagnano Faiano, San Mango Piemonte, Cetara, Bellizzi, Nocera Inferiore, Mercato San Severino, Pagani, Battipaglia, Sant'Egidio del Monte Albino, Montoro Inferiore, Minori, Maiori, Corbara, Nocera Superiore, Eboli, Roccapiemonte, Angri, Atrani, Montecorvino Pugliano, Castel San Giorgio, Amalfi, San Valentino Torio, Solofra, San Marzano sul Sarno, Sarno, Bracigliano, Scafati, Pompei, Montoro Superiore, Siano, Sant'Antonio Abate, Santa Maria la Carità, Striano, Forino, Ravello, Gragnano, Poggiomarino, Torre Annunziata, San Cipriano Picentino, Scala, Lettere, Casola di Napoli, Praiano, Conca dei Marini, Tramonti, Serino, Castellammare di Stabia, San Giuseppe Vesuviano, Santo Stefano del Sole, Cesinali, Terzigno, Campagna, Palma Campania, Ottaviano, Aiello del Sabato, Trecase, Albanella, San Gennaro Vesuviano, Calvanico, Atripalda, Capriglia Irpina, Pimonte, Marigliano, Nola, San Paolo Bel Sito, Contursi Terme, Furore, Torre del Greco, Mariglianella, Avellino, Contrada, Vico Equense, Tufino, San Vitaliano, Scisciano, Comiziano, Saviano, Casamarciano, Camposano, San Sebastiano al Vesuvio, Somma Vesuviana, Brusciano, Palomonte, Portici, Cicciano, Acerno, Cercola, San Giorgio a Cremano, Sant'Anastasia, Pomigliano d'Arco, Oliveto Citra, Domicella, Colliano, Baiano, Montefalcione, Pratola Serra, Volla, Altavilla Silentina, Sicignano degli Alburni, Liveri, Castello di Cisterna, Polla, Agerola, Pollena Trocchia, Napoli, Cimitile, Avella, Acerra, Montefredane, San Michele di Serino, Monteforte Irpino, Mercogliano, Positano, Candida, Parolise, Lauro, Moschiano, Manocalzati, Olevano sul Tusciano, Quindici, Giffoni Valle Piana, Valva, Buccino, Giffoni Sei Casali, Visciano, Carbonara di Nola, Postiglione, Casavatore, Pertosa, Casoria, Sorbo Serpico, San Potito Ultra, Pago del Vallo di Lauro, Casalnuovo di Napoli, Romagnano al Monte, Auletta, Recale, Casagiove, San Nicola la Strada, Sant'Angelo a Scala, Marzano di Nola, Mugnano del Cardinale, Afragola, Arzano, Crispano, Casapulla, Meta, Grottolella, Ospedaletto d'Alpinolo, Taurano, Pietradefusi, Montemiletto, Capaccio, Castelcivita, Santomenna, Curti, San Prisco, Sirignano, Petina, Caserta, Capodrise, Trentinara, Torre Le Nocelle, Caivano, Cardito, Melito di Napoli, Sant'Arpino, Succivo, Sala Consilina, San Felice a Cancello, Santa Maria a Vico, Portico di Caserta, Piano di Sorrento, Montefusco, Roccarainola, Frattaminore, Frattamaggiore, Grumo Nevano, Cesa, Macerata Campania, Santa Maria Capua Vetere, San Rufo, Quadrelle, Aquara, Marcianise.